找回密码
 立即注册
搜索
热搜: 活动 交友 discuz
查看: 17|回复: 0

[问题反馈] 虚拟机提示无法打开/dev/net/tun的解决办法

[复制链接]

1

主题

10

回帖

146

积分

管理员

积分
146
发表于 2025-10-15 00:28:34 | 显示全部楼层 |阅读模式

飞牛主机开机,Windows11虚拟机没有随机启动。

手动开机,却发现出现提示:

执行开机命令失败:无法打开 /dev/net/tun,是否载入了tun模块?没有那个设备

5d441e7524d5f63cb162d691f4b809a5.png

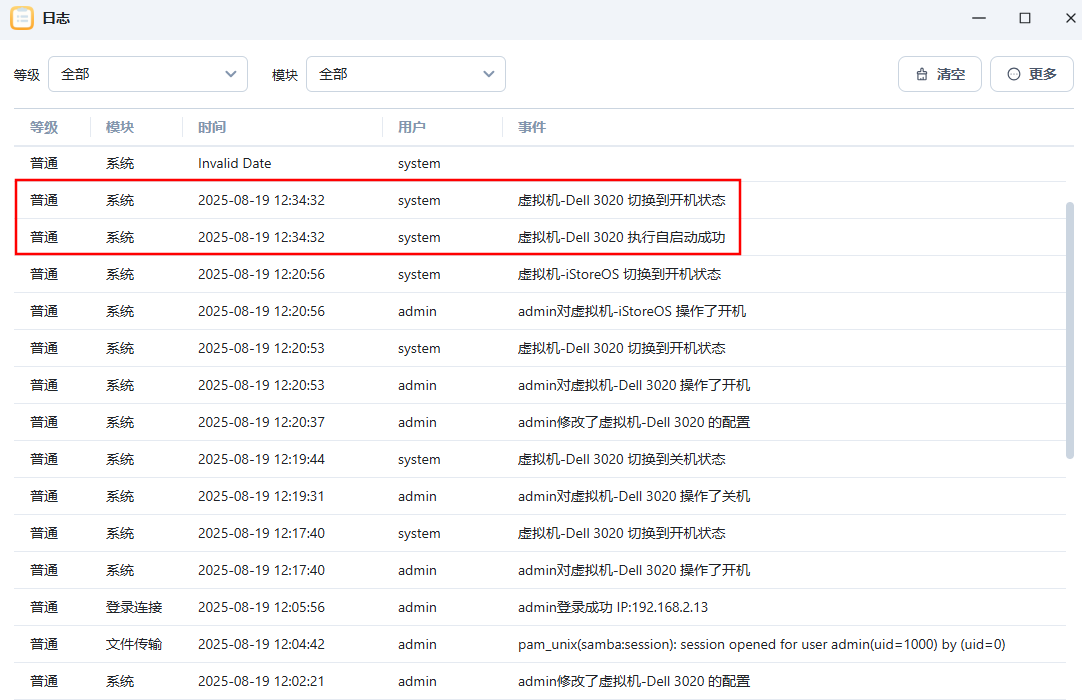
打开系统日志:

19f06d5eaf21734fe9fb8a003a0ccf63.png

这样好像也看不出来啥。。。

既然提示是/dev/net/tun,那么,直接SSH连终端:

0c1f9892ea3122702267793766c7209e.png

检查并加载TUN模块

执行命令确认模块状态:

lsmod | grep tun

若未显示 tun 模块,需手动加载:

sudo modprobe tun

持久化加载‌:编辑 /etc/modules-load.d/tun.conf ,添加:

tun

a0ee754d665bfcc9faa9ec202d45393f.png

验证设备文件权限

检查 /dev/net/tun是否存在:

ls -l /dev/net/tun

2e39cf596a5b3d80fe5e3f586b8de459.png

这里已出现tun。

若不存在,手动创建并设置权限:

sudo mkdir -p /dev/netsudo mknod /dev/net/tun c 10 200sudo chmod 666 /dev/net/tun

随后手动开启win,发现系统已启动:

ff925bf553166639716dd70655d6a7e4.png

重启飞牛,随后打开日志,发现win已随机启动,问题解决:

c19acbe4c0d7bf7580b10564a36c8a40.png

您需要登录后才可以回帖 登录 | 立即注册

本版积分规则

本站由纳斯五零(NAS50.CN),版权所有,保留部分权利。豫ICP备2023035803号-1

Archiver|手机版|小黑屋|Discuz! X

GMT+8, 2025-10-24 04:25 , Processed in 0.105909 second(s), 28 queries .

Powered by Discuz! X3.5

© 2001-2025 Discuz! Team.

快速回复 返回顶部 返回列表