找回密码
 立即注册
搜索
热搜: 活动 交友 discuz
查看: 138|回复: 0

设置防火墙后打不开应用中心

[复制链接]

1

主题

12

回帖

189

积分

管理员

积分
189
发表于 2025-10-15 01:49:27 | 显示全部楼层 |阅读模式

设备环境:物理机

BUG现象:打开防火墙就不能访问应用中心

出现频率:必现

联系方式:(可以提供手机号或者所在公测群与昵称,例如 1群-路人甲)

日志文件:

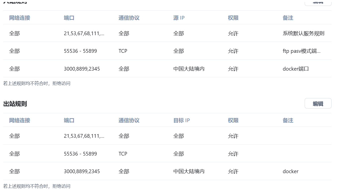
光猫开启了dmz主机(单独做端口转发有时候不在家不好配置),想配合防火墙实现仅访问特定端口,设置界面如下,开启防火墙后就点击应用中心就加载不出来了,关了就好了。

dcf180c9f39993efdc61bba2b283b6aa.png

79d3ff4772490f6a17842e826da42711.png

您需要登录后才可以回帖 登录 | 立即注册

本版积分规则

本站由纳斯五零(NAS50.CN),版权所有,保留部分权利。豫ICP备2023035803号-1

Archiver|手机版|小黑屋|Discuz! X

GMT+8, 2025-12-8 19:33 , Processed in 0.187125 second(s), 27 queries .

Powered by Discuz! X3.5

© 2001-2025 Discuz! Team.

快速回复 返回顶部 返回列表